Products

Gravimetric Blending & Line Control, Testing and Measuring Systems

The revolutionary WTG wall thickness gauge provides continuous monitoring of pipe wall thickness. The Sysmetric GSET THz sensor is based on the use of millimetric radio waves and employs short radar technology to measure pipe thickness.

Benefits

  • Standard 8 points of measurement over 360o
  • Inner and outer pipe diameter measurement
  • Pipe ovality measurement
  • Measuring accuracy of +/- 0.01mm
  • Measuring units: Metric and Imperial
  • Pipe diameter range: from 100mm to 1200mm
  • Pipe wall thickness range: from 10mm to 150mm
  • Multiple HMI data display formats
  • Standard CSV report generation

Features

  • Standalone stainless-steel chassis
  • 4 GSET Radar Sensors
  • PC-based Monitor and Control HMI
  • Optional Calibration via final product data
  • Optional Integration with Sysmetric weight per length control
  • Optional Integration with Sysmetric Vision MES software

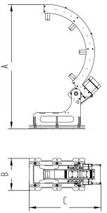
Specifications

Model WTG 100-400 WTG 250-600 WTG 600-1200
A 1550 1800 2220
B 400 400 400
C 910 910 1045
  • Sensor FMCW Radio TX/RX frequency
  • FCC Part 15 compliant
  • Transmit power: less than 1 mWatt at 3m distance.
  • Operation power: 110/220 VAC – 50/60 Hz
  • Optional remote access: 3G/4G

Leave a Reply

Your email address will not be published. Required fields are marked *